独特式电梯井道架结构与其设备配置—— 智能电梯产品系统化介绍(十二)
编者按:一种独特式钢结构井道,配有新颖的齿带式驱动电梯,且传动效率高。其优势在于:第一,所占井道面积比标准井道减少四分之一;其次,此井道结构为独立式,与相邻原建筑物承载力无关;此外,电梯可建成不影响一、二楼层通风与采光的运载设施。
一、问题的提出
当今我国社会,国民生活水平的迅速提高,人们对于电梯的需求越来越强烈,尤其家中有老人或残障人员的家庭,对于电梯的需求显得愈加迫切。在我国有大量的低层住宅需要安装或加装电梯,早在2018年有人测算,我国已建成的老旧住宅有250万门栋符合加装电梯的条件。随着国家经济实力的强劲增长,2019年,政府在工作报告中特提出加快有计划分步骤的在全国实施与建设生态“智慧城市”任务,故在各地政府多项政策的加持下,也促进了老旧住宅电梯的安装或加装电梯工作得以大幅度展开。然而,由于电梯井道与建筑物,以及用户等要求限制了部分住宅电梯、家用电梯及旧楼家装电梯的普及与发展。
因此,对于我们电梯行业及工程技术人员来说,有责任与义务解决此项电梯行业存在的难点,就此问题的所在,特提出所须配套、系统解决的几个方面问题及事项。
● 大量住宅楼及厂商需要加装或改造电梯,而成本较高;
● 低层而密集的老旧住宅一二楼用户,担忧影响自家环境,即阻挡室内光线及通风等问题;
● 加装电梯配套方案与旧宅土建不匹配,牵涉到旧宅建筑物使用安全等方面原因;
● 用户提出的加装电梯井道及出入等场地要求,限制了家用电梯及旧楼加装电梯的配套。如施工下方有管道或下水道或场地狭窄等公用设施;
● 部分电梯企业服务与技术工作不到位,用户不满意。如土建技术方案或产品配置用户认为不满足要求或使用功能;
● 现产品不足或用户原因,导致政府及用户对电梯监管、使用模式难易达到有效预防的安全目标。
二、方案的抉择
本发明针对上述各项要求及相关问题,对于电梯行业的研发人员应主动寻找一种可靠而实用的解决方案。我们知晓,通常旧楼加装电梯选用曳引式电梯与钢结构井道配合使用,更进一步的选用组合式井架,听说此结构具有专利技术;而对于家用电梯因井道较小,特采取液压电梯和螺杆式驱动电梯、钢带电梯配套。可见,这些电梯均存在各自的不足,如液压电梯具有成本高及环境污染等缺点;而螺杆式机械传动效率及运行速度太低等缺陷;至于钢带电梯因曳引能力系数较小且不稳定,易出现钢带打滑等现象。
由上可知,我们能否研究一种新结构电梯与具有兼容特征的电梯土建配套呢?即针对各建筑物特点,找出解决用户的不同需求。我们科研团队通过多年电梯与建筑物土建研究表明,利用一种新结构电梯配套各种类型土建的方案是可行的。其要点在于本结构电梯适用于不同井道架,注重本井道架是独立而自由的。显然,其要求不能与用户原土建相连或搭建,以防止井道架的沉降而影响原有用户建筑物。我们深知,对于现今任何一种电梯产品结构与诸多形式的井道配套也不是通用的。
通常旧楼加装电梯与井道架配置主要有平层入户、错层入户、亚平层(斜坡)入户三种处理方式。此外,大部分用户提出配有长短不一的连廊等入户的要求。又当一楼及二楼用户提出通风与光线问题时,应具有一种井架结构在一或二层不阻挡通风与透光。即考虑可在一、二楼采取一悬空式井架结构,其周边配有防护栏;且电梯对重为侧置式等相关特殊结构配置。
同时,还应考虑家用电梯的土建井道或井架,主要解决所配电梯确保用户的小井道能安装成最大轿厢(即满足载人空间)。但不能选用液压式、螺杆式及钢带式驱动电梯配套,应使电梯整机性价比为最佳选择。
综上所述,对于其电梯与井道架根据相关因素及用户使用要求,为确保其产品的可靠性与安全性,特提及本发明相关约束条件。
1)老旧电梯高度一般不会超过十层以上楼房。则钢结构井架独立高度可规定不大于40m;
2)因楼层高度等原因,则电梯额定速度可控制为不超过1.0m/s;
3) 旧楼加装电梯因出入人员(含残障人员)不多且空间相对狭窄,故电梯额定载重量通常不超过800kg,但最大不超过1000kg;
4)为解决用户通风及透光等问题,增设一种一或二层为悬空式井架(即部分封闭式井道),并配有周边安全护栏等安全防护装置;
5)井架应配置地基基础设计图,其混凝土基础压强应大于0.15MPa。如土质强度不够应加桩基;
6)要求地基基础应能承受四级地震烈度;且井架顶部能承受十级及以下台风和暴雨。
三、结构与原理
就上述问题及要求,针对电梯井道架结构及其电梯的配置设计方案分别提出如下:
1)电梯井道架结构
(1)第一种井道架结构
详见图1所示。序号1井架通过序号7地脚螺栓固定在序号2井架基础上,且其基础呈井形混凝土架构。此为用户连廊式入户方式,则序号3连廊一头铰接(此点为悬挂式受力端)在井架横梁上,另一端悬挂在用户过道上,它们之间允许微量相对楼面位移。可见,电梯安装在井架内,只要井形混凝土架构基础牢固,既能确保在电梯运行时井架稳定,又能防止建筑物的沉降及其它环境因素,导致电梯或用户建筑物引发相关安全问题。
图2所示,与图1不同之处有两点。一是混凝土架构为双条形结构,因其结构与用户建筑物地基近距离接触。另一点在于井架同样与用户建筑物地基近距离接触时,不用连廊附件。即用户不需要连廊式入户,


图5 露天电梯传动结构示意图 图6 井道架与电梯布局结构图
直接进入用户建筑物过道上。且其它要求与图1所示一致。
此外,当用户有下水道或管道通过用户井道的基础时,则须在其混凝土架构上留有穿过用户下水道或管道的孔洞。但其混凝土架构必须满足井架结构设计要求及可靠性。
(2)第二种井道架结构
如图3所示。它与图2不同之处,在于二楼或三楼层之下增加了一段悬空式结构。且四周外围配有一定高度的可通风的网状安全护栏,以确保电梯在一楼停靠时的人员安全。另一点在于,钢结构井架中对重放置在用户建筑物进门的左侧或右侧的上方。为保证其人员通行时安全性,则在一层和多层上方增加对重坠落或冲击楼层底部结构的安全层面。这是通常电梯所不具备的特殊结构。
此外,本井道架也可选用用户需要的连廊式入户。即增加序号3连廊,一头铰接在井架横梁上,另一端悬挂在用户过道上,它们之间允许微量相对楼面移位。同时,可备有在其混凝土架构上增设穿过用户下水道或管道的孔洞。
2)电梯配置结构
(1)与第一种井架结构配置的电梯
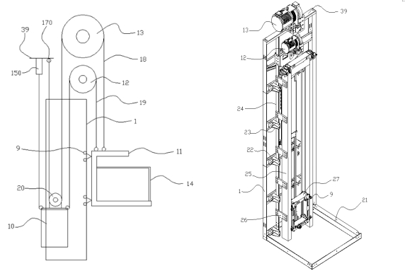
现介绍一种新开发的电梯产品,参见本公司专利产品(专利号:201410334583.1)。即具体介绍一种在此专利产品改进后的齿带式电梯传动结构示意图,详见图4所示。它与现有技术相比,在符合安全又可靠的前提下,其结构更加简化而紧凑。在家用电梯方面:对于井道面积极小、无底坑、无机房的井道特适用。
此外,也适用于旧楼家装电梯用户的配套需求。因其独立置于井架内,本配置既避免了建筑物地面及房顶土建工程的相关问题,又满足当地规划建筑设计院新增设备的建筑设计要求。
现进一步说明齿带式电梯传动结构示意图,其工作原理:序号13限速制停装置(即限速器与安全钳组合)由序号10平衡重(或对重架)与序号11轿厢架通过序号18钢丝绳(安全绳)连接悬挂在其(序号13)限速器绳轮上;序号12(主机)动力输出主动齿轮通过序号19同步齿带和序号15齿带绳头张紧装置形成回路与轿厢架连接。在主机齿轮正反转动时,带动轿厢垂直向上或向下运行。此外,序号15齿带绳头张紧装置与序号10平衡重有相对微量位移。并配有断带安全控制装置。
综上所述,本发明配套电梯与原发明专利主要在于一项重大改进。首先,在于将同步齿带传动下井道底坑的张紧装置直接并入平衡重架构内。其次,将序号1主、副C型导轨合并成一体放置在对重侧。由此,一方面精简轿厢架下及井道的空间;另一方面使本发明电梯不具有强制式驱动电梯的属性。可见,在同等技术参数下,将电梯井道架做到最小尺寸。有效解决用户因出入人员(含残障人员)不多且地域相对狭窄的难度;又解答了加装电梯整体结构不影响原建筑物的难题。
(2)与第二种井架结构配置的电梯
详见图5所示,它也是在本公司专利产品改进的基础上形成的,且具有独特性,故可称之为露天电梯。
现将其露天电梯传动结构示意图(图5)其工作原理描述如下:
序号13限速制停装置由序号10平衡重(或对重架)与序号11轿厢架通过序号18钢丝绳(安全绳)连接悬挂在其(序号13)限速器绳轮上,而序号18钢丝绳(安全绳)的另一端绕过序号20平衡轮固定连接在井架顶部,形成回路;序号19同步齿带通过与序号11轿厢架连接悬挂在序号12动力输出主齿轮(主机)上,而另一端绕过齿带导轮通过序号150齿带绳头张紧装置固定连接在井架顶部。当动力输出齿轮正反转动时,带动轿厢或平衡重垂直向上或向下运行。序号150张紧装置在井架顶部有相对微量位移。并配有断带安全控制装置。
此外,需要进一步说明本发明配置电梯主要增加如下几项特殊功能和结构:
a. 对于图3所示悬空式井架结构,电梯轿厢底部在不采用随行电缆外,还配有激光底坑安全检测功能,当底部有人或进入物体时,则电梯近距离停止并警铃鸣响;同时,返回上一楼层停靠而开门停梯。
b. 通常将电梯基站设置在二楼或三楼及以上。即无人呼梯时,电梯自动停靠二楼或三楼及中间楼层,避免轿厢在无人乘坐电梯时遮挡一或二层用户的通风与透光问题。
c. 为防止电梯平衡重下降到地面空间而影响通风,将图5平衡重悬挂比改为2:1,故轿厢运行到顶层时,而平衡重只停靠在井架中部。且在井架二层或三层底部有一防坠落隔离层。
d. 最后一点,当其地基基础遭遇四级地震烈度及井架顶部遇到十级及以下台风或暴雨时,电梯可自动停梯并报警。显而易见,在于电梯运行与驱动及监控可优先选用物联网网联集中控制方案。
四、要点与总结
通过上述诸多描述及说明,本发明实为二种电梯结构与不同井架的组成配合,通常适用于旧楼、既有建筑物楼层及露天配置电梯,也适应于不同土建现状及不同人群的特殊要求。
可见,本发明专利拥有与当前曳引式(含钢带式)、液压式及螺杆式电梯所不能具有的功能与优势:
1)由于电梯整体结构紧凑,在于其机房主机及井道部件占用空间大幅缩小,详见图6所示。则特适用于小机房、无机房及浅底坑,定深受用户眷顾。
2)因电梯及配置井道为独立式总体结构,则用户不需担心本身建筑物等相应问题的产生。当井架无论是整体式封闭,还是半封闭式结构,均可采取井架标准节式的组合,使制造及安装带来极大的便利。
3)当用户要求解决不通风与不透光的特殊要求时,电梯在无随行电缆的状态下,上述配置电梯的特殊方案,可在半封闭式井架下使问题轻而易举的解决。且其轿厢具有防雨水及防晒隔热等功能。故此种井架底部敞开式电梯谓之露天电梯。
4)图4所述电梯结构除了配套其所述井架外,同样适用于普通钢结构井道,其要点在于配套此电梯结构,能使电梯整机能效比与性价比为最优。如井道面积同类型800kg标配乘客电梯,本发明配置的电梯井道面积将缩小36%。
5)上述井架除了采用钢结构外,可选用高强度铝合金材料制作。当配上整体式高铁车厢材料时(详见专利号:202110821315.2),外部配置彩色灯光;在无随行电缆及不见导轨的前提下。可见,电梯在夜晚运行时,宛如火箭的发射显得绚丽多彩。人们将称之为超入眼观光电梯。
综上所述,本发明为解决在全国各地实施与建设生态“智慧城市”任务的困境,而提供了可靠而扎实的行动方案;也为生态城市的建设与布局增添了一道绚丽的彩虹!
五、产品声明
本产品于2021年年底提出,现已获得国家电梯产品发明专利。其专利号:202111384093.9。
本产品配套中的限速制停装置部件,现已报国家发明专利。其专利号:202311472957.1。此外,本部件符合国家电梯标准GB/T7588.1/2及相关标准要求。
吴哲 2024年2月于佛山
