新电梯早新闻 2025年1月14日 腊月十五 星期二
北京首台“全托管”模式更新电梯已在朝阳区投用 有问题居民可直接与电梯公司沟通

北京首台“全托管”模式更新电梯已在朝阳区投用,物业只需定期付费,电梯出现问题居民可直接与电梯安装公司沟通解决。
这种“全托管”模式电梯的投用,标志着电梯管理方式的一次创新。电梯安装公司全面承担电梯的管理职责,包括电梯全周期的使用管理、修理改造和维修保养。实现托管期间电梯全梯质保,确保电梯的安全和正常运行。托管期间,物业单位只需定期支付托管费用,无需再担心电梯的维护和修理问题。而居民在电梯使用过程中遇到任何问题,都可以直接与电梯安装公司沟通解决,大大提高了问题解决的效率。
逆势而上,突围新生 | 苏州莱茵电梯 2024 年度销售年会圆满召开

2024 年 12 月 30 日,苏州莱茵电梯股份有限公司 2024 年度销售年会隆重召开,本次会议以 “逆势而上,突围新生” 为主题,展现了莱茵电梯在困境中奋勇前行的坚定决心。
执行总经理郑钢先生先是全面总结 2024 年销售工作的整体得失,又基于行业动态与公司现状,为 2025 年销售工作指明方向。他强调,在竞争激烈的当下,精准把握客户需求、强化产品知识、打造高效团队是破局的关键。郑钢先生分别为销售冠、亚、季军及年度风云人物颁发了荣誉证书、奖杯及奖金,对他们在过去一年中的卓越表现给予了充分肯定,他们的故事激励着每一位莱茵人。
总经理蒋黎明先生做会议总结。他充分肯定了销售人员在 2024 年的辛勤付出和取得的优异成绩。展望未来,莱茵电梯将持续加大研发投入、优化产品性能,携手在逆势中突围,开启新生。
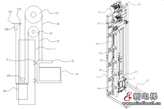
独特式电梯井道架结构与其设备配置—— 智能电梯产品系统化介绍(十二)

一种独特式钢结构井道,配有新颖的齿带式驱动电梯,且传动效率高。其优势在于:第一,所占井道面积比标准井道减少四分之一;其次,此井道结构为独立式,与相邻原建筑物承载力无关;此外,电梯可建成不影响一、二楼层通风与采光的运载设施。
上海奉贤:一名工人驾驶扫地机不慎撞开三楼电梯门,连人带车掉到电梯井内被困

1月6日,在上海市奉贤区一单位,一名工人驾驶扫地机时不慎撞开三楼电梯井的门,连人带车坠落到电梯井内,被困在一楼电梯轿厢与电梯井墙壁的夹缝中。
上海市消防救援人员进入电梯井,确认被困人员位置后,迅速展开救援。一组人员使用无齿锯破拆电梯轿厢,开辟营救通道;另一组人员携带多功能担架,固定被困人员并为其止血包扎。在医务人员的指导下,消防人员将被困工人从破拆出的营救通道成功转运,并移交120送往医院进行检查。目前伤者仍需进一步治疗。
湖北荆州市监对某电梯公司未设置安全防护栏、未记录近期电梯异常停运情况处罚款1万元

2024年,湖北荆州市沙市区市场监管局严格落实国家市场监管总局、湖北省市场监管局关于开展民生领域案件查办“铁拳”行动的部署要求,其中查办特种设备违法案件并公布。
2024年11月26日,荆州市沙市区市场监管局依法对某电梯有限公司某分公司未严格执行安全技术规范要求开展维保,发现当事人的电梯维护保养人员在处理故障的电梯过程中未设置安全防护栏,同时未记录该小区近期电梯异常停运情况,也未向电梯使用单位出具故障抢修单。对违法行为作出处罚款10000元的行政处罚。
河南新乡一小区电梯被评定为不合格,8部电梯全部被关停

据媒体报道,河南新乡牧野区学府第一城小区就遭遇了电梯停摆的困境。由于电梯被评定为不合格,小区4个单元的8部电梯全部被关停,直接影响了640户居民的正常生活。
物业公司在电梯维护和检修方面存在疏忽,导致电梯出现安全隐患并被关停。同时,一些小区还存在物业费缴纳不足、物业与开发商之间纠纷等问题,进一步加剧了电梯停摆的情况。
辽宁:约谈电梯检验检测机构24家次退出本地电梯检验检测市场5家

辽宁省市场监管局于2024年6月至10月开展了特种设备检验检测质量监督抽查工作,并公布了抽查情况通报。
全省范围内共抽查150台电梯,其中曳引式乘客电梯及载货电梯128台,自动扶梯和自动人行道22台。涉及电梯检验机构7家共32台电梯,电梯检测机构17家共118台电梯。抽查工作出具了电梯检验检测质量抽查备忘录47份。
抽查共发现问题453项,其中涉及电梯检验问题39项,电梯检测问题414项。
辽宁省局及时向各市局下发转办通知16份,要求各市局依法依规予以查处。各市局共下达安全监察指令书4份,约谈电梯检验检测机构24家次,退出本地电梯检验检测市场5家,所有问题均已整改完毕。
这次通报辽宁省在特种设备检验检测质量监督抽查方面所做出的努力以及发现的问题,有助于进一步规范特种设备检验检测行为,提升检验检测质量。
稳中求进 行稳致远丨森赫电梯2024年度营销工作总结会议圆满成功

1月6-7日,以“稳中求进 行稳致远”为主题的森赫电梯2024年度营销工作总结会议在南浔福朋喜来登酒店顺利召开。公司管理层、各分支机构负责人、职能部门负责人齐聚一堂,总结过往,共谋新篇。
公司董事长李东流博士在讲话中表示,计划投入1.5亿流动资金用于支持超长期特别国债项目旧梯更新业务;投入3000万用于分支机构建设,勉励全体同仁要保持积极进取的态度,凝聚共识,汇聚力量,共同推动公司实现新的增长目标。
营销总监沈晓阅、家居电梯业务发展部经理庞博文,副总经理焦杰分别发言。
